NAME – 40x46mm XM674 CS Riot Control Cartridge
NAME (COMMON) – XM674 CS Cartridge
CALIBER – 40x46mmSR
TYPE – Low velocity hand or launcher fired burning-type CS Tear Gas round
YEAR OF INTRODUCTION – 1968
COUNTRY OF ORIGIN – USA
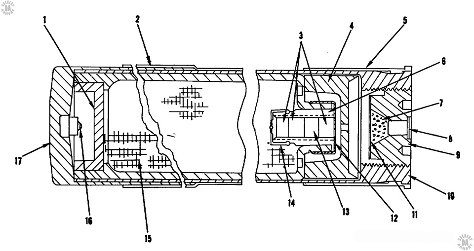
IDENTIFYING COLOR CODE – Grey case and launcher cap, launcher body with 7.2mm (0.28 inch) red band, markings in red, tan rim adapter, black tape securing firing cap to body
CASE TYPE – Semi-rimmed straight with 6 notches in rim
CARTRIDGE LENGTH – 21.6 cm (8.5 in)
CASE HEAD DIAMETER – 39.55 mm (1.56 in)
CASE RIM DIAMETER – 39.35 mm (1.55 in)
RIM ADAPTER DIAMETER – 43.30 mm (1.70 in)
PROJECTILE TYPE – Burning-type, CS Tear Gas butyl rubber projectile
PROJECTILE LENGTH – 17.8 cm (7 in)
PROJECTILE DIAMETER – 36.63 mm (1.442 in)
PROJECTILE WEIGHT – 0.210 kg (7.41 oz)
POWDER WEIGHT – 0.50 g (7.72 grains) black powder
FILLER – CS-Pyrotechnic mixture containing 40% CS
FILLER WEIGHT – 0.10 kg (3.53 oz)
FUZE TYPE – Pyrotechnic, ignited on firing
FUZE DELAY – 3 to 6 seconds
CASING WEIGHT – 0.13 kg (4.59 oz)
TOTAL ROUND WEIGHT – 0.34 kg (12 oz)
MUZZLE VELOCITY – 76 m/s (130 fps)
NOMINAL BARREL LENGTH – 35.6 cm (14 in)
EFFECTIVE RANGE – 70 m (77 yards)
MAXIMUM RANGE – 100 m (109 yards)
EFFECT – Visible cloud of CS gas and smoke released while projectile burns and bounces across the ground
AREA OF EFFECT – 35 m2 (44 yards2) by 2 m (6.5 feet) thick
BURNING TIME – 36 seconds
STATUS – Production completed
SERVICE – US Military and allied forces





